Products 製品情報
  1. HOME
  2. 製品情報
  3. EXRタイプ
  4. タイヨージョイント EXR-W型

タイヨージョイント EXR-W型

  • #場内配管
  • #量水器

タイヨージョイントEXR型は大きい撓角と伸縮量が得られる、二重管方式の伸縮可撓継手です。
EXR-W型はスリーブとボディーが鋳物製の製品です。製缶品でも製作が可能です。バルブ,ポンプ等のメンテナンス用伸縮継手として使用されています。

Data

名称
EXR-W型(接続形式:フランジ)
サイズ
50A~200A(鋳物製)
40A~1350A(製缶品)
使用圧力
0.5MPa~1.0MPa
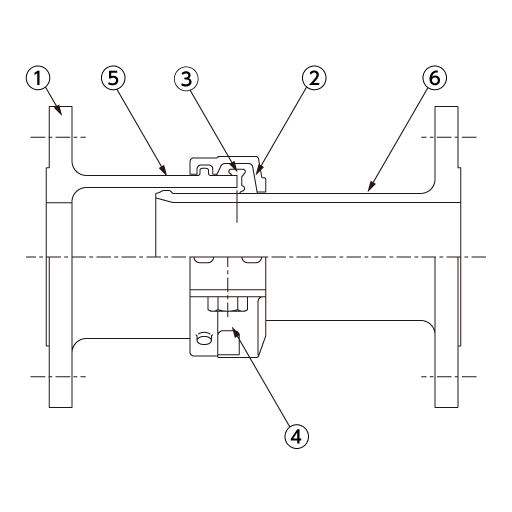
材質(標準)
①フランジ(上水形)…FCD450-10、SS400
②ハウジング…FCD450-10
③ゴムリング…SBR
④ボルト・ナット…SS400、SUS304
⑤ボディー…FCD450-10、SS400
⑥スリーブ…FCD450-10、SS400
※⑦鉄線リング…SWRM、SS400(製缶品)
用途
・場内配管(浄水場)
・量水器
・その他

※塗装及びフランジの仕様は各種御座います。ご照会下さい。
※標準面間寸法は製品カタログをご覧ください。
※標準面間寸法以外も製作可能です。ご照会下さい。(製缶品のみ)