Products 製品情報
  1. HOME
  2. 製品情報
  3. EXRタイプ
  4. タイヨージョイント EXR-N1型

タイヨージョイント EXR-N1型

  • #水管橋
  • #場内配管

タイヨージョイントEXR-N1型は大きい撓角と伸縮量が得られる、オールステンレス製の二重管方式の伸縮可撓継手です。伸縮可撓管として使用されています。

Data

名称
EXR-N1型(接続形式:ベベル・フランジ・リング)
サイズ
50A~300A
使用圧力
2.0MPa
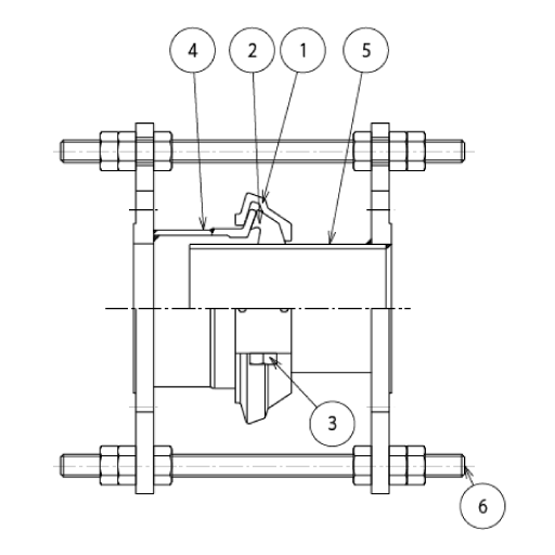
材質(標準)
①ハウジング…SCS13、SCS14
②ゴムリング…SBR
③ボルト・ナット…SUS304、SUS316
④ボディー…SUS304、SUS316
⑤スリーブ…SUS304、SUS316
⑥タイロットボルト…SUS304、SUS316
用途
・場内配管(浄水場)
・水管橋
・その他